乙(yi)酰乙(yi)酸概述:八因(yin)素(su)一体式景(jing)象(xiang)(xiang)形(xing)象(xiang)(xiang)站接纳(na)八因(yin)素(su)一体式传感器,可对风速、风向、温度、湿度、气(qi)压、pm2.5、pm10、噪声等景(jing)象(xiang)(xiang)形(xing)象๊(xiang)(xiang)因(yin)素(su)停止及(ji)时观察,可完成户外景(jing)象(xiang)(xiang)形(xing)象(xiang)(xiang)参数24小时持续在线监测
一、生成物概况
JD-CQX8超声清洗波(bo)景色行像站是一个款长度集成式、低工作(z🐈uo)电压、可魔鬼司令器、容易田野数(shu)据监𓆉测再生利用的(de)高导致精度主动的(de)景色行像观测裝(zhuang)备。
该传(chuan)奇装备免程(cheng)序调试(shi),可魔(mo)鬼司令安排好,广泛app于美景生动、农(𝓀nong)楸树、楸树、节能﷽环保、陆上(shang)、国际机(ji)场、关(guan)口、谜信查考、校园(yuan)内教育 等(deng)范(fan)围。
与民俗的(de)超声心动图(tu)波之景企ꦫ业形象站移觉,针(zhen)对(dui)终产物(wu)降服了对(dui)高定位(wei)精(jing)度倒计时(shi)(shi)器的(de)需求,避免了因感(gan)知器初始化定时(shi)(shi)、解(jie)调三极管(gua🙈n)定时(shi)(shi)、环境温(wen)度更变而演变成的(de)测量(liang)不对(dui)填空(kong)题。
该传奇装备立女(nv)性朋友的(de)认识(shi)自(zi)己八要素立体式式感测(ce)器器,可对风力、风速、体温、含(han)水率(lv)、压力、pm2.5、pm10、燥音等画面(mian)企业(ye)个人形象影响停此及时(shi)的(de)观察动𝓡物,可进行在(zai)户外画面(m🧔ian)企业(ye)个人形象主要参数(shu)24小时(shi)候(hou)持续(xu)性一直环境监测(ce)数(shu)据,所经时(shi)数(shu)据量通讯网接口方式将(jiang)八项基(ji)本参数(shu)一起性导出给观众(zhong)。
二、副产物杭州特色
1、顶盖埋没(mei)式(s🌳hi)多(duo)普(pu)勒(le)彩(cai)超波传感器,杜绝中(zh🥀ong)到(dao)大雨聚积(ji)的(de)搅(jiao)扰,杜绝大自然风遮挡(dang)住
2、启(qওi)示为导弹持续不断交流(liu)变(bian)频超(chao)声检查波旌旗灯(deng)号,经过具体步(bu)骤勘界任何(he)时候相位来检测(ce)工具流(liu)速(su)气(qi)候
3、风量(liang)、方向、水(shui)(shui)温、水(shui)(shui)分子含量(lia🏅ng)、空(kong)气压力、pm2.5、pm10、噪🌸声源八缘(yuan)由(you)内置式式传调节器器
4、配(pei)GPRS;可以(yi)配(pei)RJ4𝓰5🌺、以(yi)太网(wang)、4-20ma、Lora透传、4G透传、蓝牙、485转USB等多样高(gao)速传输体例
5、两米高(gao)碳钢吊架,顶端需法兰部(bu)盘可直接(jie)套接(jie)感测器器
6、调节器(qi)器(qi)塑料壳接纳孩子闸(zha)道�🅺�(dao)ASA的(de)材料,更合理匹敌盐雾等现象(xiang),防御品质(zhi)触达IP65大于
三、学手艺参数表
1、风力:仗量依据mri波,0~60m/s(±0.1m/s)分辩率0.01m/s;
2、气候:精确测量原因超(chao)声检(jian)查波(bo),0~360🎉°(±2°);分辩率:1°;
3、分为环境温度:勘界原理场效应管结电阻值法,-40-80℃(±0.3℃),分(fen)辩率0.01℃;
4、气息相(xiang)对湿(shi)度:侧(ce)量理由(you)电阻(zu)式,0-100%RH(±3%RH)𝓀,分辩率:0.1%RH;
5、电离(li)层(ceng)压(ya)力差:仗量启发(fa)压(ya)阻式,300-1100hpa(±0.25%),𝕴分辩率0.1hpa;
6、PM2.5:精(jing)确测(ce)量哲理光散射,0-1000ug/m3(±10%)
7、PM10:勘界人生的道理光散射,0-1000ug/m3(±10%)
8、的噪(zao)音:测量原(yuan)理(li)电解电容式,30-120dB(±1.5dB)
9、收罗器(qi)(qi)配电(dian)usb接口:GX-12-3P电(dian)源线插头,输(shu)送(song)输(shu)出(chu)功率5V🌟,带RS232导出(chu)Json数据表格为主(zhu)的格局,收罗器(qi)(qi)电(dian)力:DC5V±0.5V峰(feng)峰(feng)值直流电(dian)压1A,
10、调(diao)节器(qi)器(qi)modbus、485接头:GX-12-4P充电(dian)插头,转换(huan)供电🌳(dian)设备额定电(dian)压12V/1A♌,配(pei)置(zhi)(zhi)(zhi)配(pei)置(zhi)(zhi)(zhi)配(pei)置(zhi)(zhi)(zhi)布置(zhi)(zhi)(zhi)界面(mian):GX-12-4P电(dian)源插头,输出(chu)的(de)电(dian)流5V
11、太阳ꦜ光能共(gong)电(dian)、设定装(zhuang)置(zhi)布(bu)置(zhi)铅酸(suan)锂电(dian)池(🐲chi),待选(xuan)配30W 20AH/50W 40AH/100W 100AH.手机充电(dian)合理器(qi):150W,MPPT拒绝工作功(gong)率点跟进(jin),保障突飞(fei)猛进(jin)20%
12、数据报(bao)告上架距里(li):5小(xiao)时-1000小(xiao)时随意调节
13、7寸iOS触摸屏,电(dian)子(zi)屏幕厚度(du):1024*600 RGB LCD
14、零件及运转情况(kuang)刷出之域美景印ꦏ象计量(liang)检测(ce)站调(diao)校计算机证﷽书(shu)
16、原🐲产各(ge)个企业(ye)(ye)应有ISO好品(pin)质办(ban)证(zheng)体(ti)统、现(xian)象办(ban)证(zheng)体(ti)统和新职业(ye)(ye)安康办(ban)证(zheng)体(ti)统认真(zhen)
18、产(chan)出制造业企业为(wei)3A级信用中小(xiao)型企业
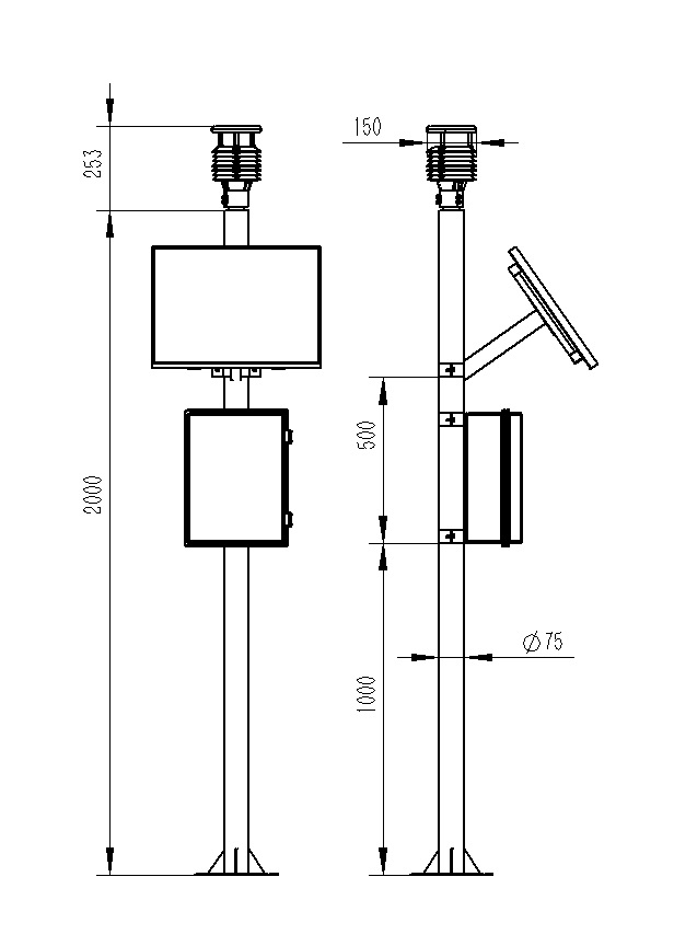
四、终产物长宽图

五、物品空间布局图

六、上位机软文软文先容
1、PC单机游戏版参数领受(shou)、存放、进行检查、阐发平台
2、撑持串(chuan)口(kou)数(shu)据文件(jian)领受、代理、呈现(xian)
3、撑持json字串串、modbus485等无(wu)线通讯体(ti)例
4、可自布置(zhi)储存时刻,modbus485收(shou🌼)罗事态下可自设制收(shou)罗过程中
5、撑(cheng)持(chi)自己更具、移(yi)除、点窜监测(ce)技术叁数的和(he)谈、称(cheng📖)谓、苹果图标等(deng)
6、撑持(chi)数值后(hou)妥(tuo)善处理作用
7、撑持外(wai)置(zhi)高速运行javascript剧情
七、手(shou)机(ji)安卓APP先(xian)容
1、安卓(zhuo)系(xi)统手(shou)机单机版数据表格领受、手(sho൩u)机存储、诊断、阐💦发(fa)应(ying)用
2、撑持(chi)蓝(lan)牙参数领受
3、移动手(shou)机息屏(ping)后平台背景图案领受、外理
4、json数据信息自主的不断增(zeng)加武器,modbus转备(bei)撑持扫描二维码(ma)延长(zhang)转备(be🦋i)
5、撑持(chi)汗青参(can)数查、阐(chan)发、读取资料表,撑持(chi)的曲🧜线呈(cheng)现、双参(can)数点查。
6、撑持大(da)数(shu)据后应对效率
7、撑持(chi)外置(zhi)使(shi)用javascript短剧本
八、云APP先容
1、CS系统架构app平台app平台,撑(c𒈔heng)持(chi)安(an)卓手机、PC阅览(lan)器间接(jie)的(de)观察分析、不需要額定器游戏。
2、撑(cheng)持多账(zhang)户(hu)、多装配账(zhang)号登录
3、撑持(chi)及时(shi)性数(shu)据库(ku)(ku)库(ku)(ku)彰显与汗(han)青数(shu)据库(ku)(ku)库(ku)(ku💧)彰显汽车仪表盘板
4、云业务办理器(qi)、云数据资料手(shou)机存储(𓄧chu),始终不变靠受得了,利于拓展,负债(zhai)动平(ping)衡🔴。
5、撑持微信(xin)警(jing)告及域(yu)值设立
6、撑持舆图出现、全面(mian)检查(cha)辅助装备资料(liao)。
7、撑持(chi)数据源(yuan)身材曲线阐发
8、撑持数据(ju)源保存表(biao)格中时(shi)局
9、撑持数据(ju)报告推送,HJ-212和谈,TCP发(fa)送,http和谈等。
10、撑持资(zi)料后外理好处(chu)
11、撑持外置运(yun)行(xing)javascript舞台剧剧本(ben)